<<新主題 | 舊主題>>
娛樂滿紛 26FUN » 手機版 » 最新蘋果專利公開!進一步揭開雙面 USB 頭的神祕面紗!
返回列表 回復 發帖

最新蘋果專利公開!進一步揭開雙面 USB 頭的神祕面紗!

Sonny Dickson 日前流出的雙面 USB 頭相片

蘋果最近流出了大量雙面 USB 頭的相片,並欲在未來的蘋果產品中使用,這個 USB 頭最大特色是雙面設計令你不需要擔心 USB 的正反。至於如何可以做到,最近美國專利及商標局在公佈了的最新專利之中,揭露更多蘋果雙面 USB 頭的祕密。
在專利當中,我們可以在 FIG.12B 看到雙面 USB 插頭的內部構造,包括中間有一條就像舌頭的彈性連接位置,舌頭前面就是 USB 頭的接觸點,後方有一條相當薄的彈性的連接位置。如此設計,目的是給予少量的壓力,令彈性的接觸點能更緊密與 USB 接口接觸,同時相信是為了支援以前的 USB 接口而來。這個名為「Reversible USB Connector with Compliant Member to Spread Stress and Increase Contact Normal Force」專利在 2 月申請,直至最近才公佈。
在 FIG.12B 當中看到雙面 USB 插頭的舌頭構造

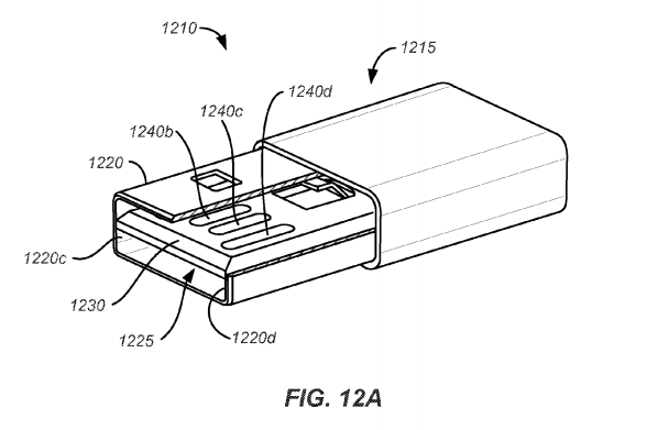
FIG.12A 可見雙面 USB 頭的構造
返回列表 回復 發帖
<<新主題 | 舊主題>>
娛樂滿紛 26FUN » 手機版 » 最新蘋果專利公開!進一步揭開雙面 USB 頭的神祕面紗!

重要聲明:26fun.com為一個討論區服務網站。本網站是以即時上載留言的方式運作,26fun.com對所有留言的真實性、完整性及立場等,不負任何法律責任。而一切留言之言論只代表留言者個人意見,並非本網站之立場,用戶不應信賴內容,並應自行判斷內容之真實性。於有關情形下,用戶應尋求專業意見(如涉及醫療、法律或投資等問題)。 由於本討論區受到「即時上載留言」運作方式所規限,故不能完全監察所有留言,若讀者發現有留言出現問題,請聯絡我們。26fun.com有權刪除任何留言及拒絕任何人士上載留言,同時亦有不刪除留言的權利。切勿撰寫粗言穢語、誹謗、渲染色情暴力或人身攻擊的言論,敬請自律。本網站保留一切法律權利。